Una inversión en el confort del futuro. Rehau Synego es una obra maestra de ingeniería para quienes no aceptan compromisos. Gracias a su profundidad de montaje de 80mm y estructura de 7 cámaras, esta puerta supera los estándares modernos de aislamiento térmico, siendo ideal para casas pasivas y chalets premium.
El silencio como privilegio. El sistema admite potentes unidades de acristalamiento y paneles de hasta 51mm de grosor. Esto crea una barrera fiable no solo contra el frío sino también contra el ruido urbano, convirtiendo su hogar en un oasis de tranquilidad.
Perfección en los detalles. La exclusiva superficie HDF (High Definition Finishing) brilla con lustre brillante y repele el polvo, mientras que la potencia oculta del refuerzo de acero convierte su entrada en una fortaleza impenetrable.
Especificaciones Técnicas
Detalles
Puerta energéticamente eficiente de 80mm (estándar Passivhaus). Hasta un 50% más de retención de calor, aislamiento acústico de 46 dB y resistencia al robo RC3.
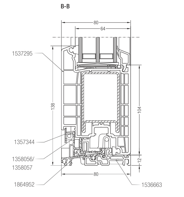
Parámetros estructurales del sistema:
- Profundidad de instalación: 80 mm.
- Estructura del perfil: 7 cámaras en el marco / 5 cámaras en la hoja (optimizado para estática).
- Refuerzo: Refuerzo obligatorio de acero galvanizado de alta inercia en el interior del perfil para garantizar la estabilidad dimensional.
- Superficie: Tecnología HDF (High Definition Finishing) — brillante, de poro cerrado, repelente a la suciedad.
- Sistema de sellado: Junta de doble contorno (AD) o triple contorno (MD) con labio central. Material del sellado: RAU-SR (EPDM) en gris o negro.
- Umbral: Umbral de aluminio con rotura de puente térmico, altura de 20 mm (cumple con los requisitos de accesibilidad DIN 18040).
Opciones de acristalamiento y relleno:
- Espesor máximo de relleno: hasta 51 mm.
- Tipos de relleno: Unidades de triple acristalamiento de bajo consumo, paneles sándwich con membrana acústica, revestimiento de aluminio.
- Propiedades de aislamiento acústico: Opción de instalar vidrios de diferentes espesores para reducir la resonancia.
Dimensiones máximas de la hoja (Estática):
- Puerta de entrada de una hoja (Blanca): Ancho hasta 1000 mm × Alto hasta 2300 mm.
- Puerta de entrada de una hoja (Color / Laminada): Ancho hasta 1000 mm × Alto hasta 2200 mm (requiere refuerzo reforzado).
- Peso admisible de la hoja: hasta 100 kg.
Características certificadas (según DIN EN 14351-1):
- Aislamiento térmico del perfil (Uf): 0,94 W/m²K.
- Aislamiento térmico de la puerta ensamblada (Ud): hasta 0,82 W/m²K (con panel Up = 0,6).
- Aislamiento acústico (Rw,p): hasta 46 dB (según la unidad de acristalamiento).
- Resistencia al robo: Clase RC2 (estándar) / RC3 (con herrajes reforzados y relleno P5A).
- Permeabilidad al aire: Clase 4 (DIN EN 12207).
- Estanqueidad al agua (Protección contra lluvia): Clase 9A (DIN EN 12208).
- Resistencia a la carga del viento: Clase B5/C5 (DIN EN 12210).
- Resistencia mecánica: Clase 4 (Máxima, cargas extremas).
Calor garantizado
Aislamiento térmico superior

Máximas opciones de relleno
Paneles gruesos

Entrada protegida
Seguridad mejorada

Puerta Rehau Synego
Puerta energéticamente eficiente de 80mm (estándar Passivhaus). Hasta un 50% más de retención de calor, aislamiento acústico de 46 dB y resistencia al robo RC3.
Más Ideas e Inspiración
Estos son algunos ejemplos de nuestro trabajo con el perfil Puerta Rehau Synego. Toda esta inspiración es para usted y solo para usted.
Estamos trabajando en mantener los datos actualizados. Contáctenos si necesita materiales actualizados.
Opciones de Financiación
Disfrute de su compra ahora y páguelo a plazos utilizando nuestros servicios de financiación.
Más detallesNo Olvide Añadir
Elementos adicionales y accesorios que harán su hogar aún más confortable
Mosquiteras
Manillas con Cerradura
Laminación
Elementos Decorativos
Compare con Perfiles Similares
Soluciones alternativas de otros fabricantes
Puerta Rehau Euro-Design 70
Puerta Rehau Brillant-Design 70
Puerta Rehau Geneo
Kömmerling EuroFutur Puerta
Kömmerling 76 Puerta
Kömmerling 88 Puerta
Disponible en Su Región
Trabajamos en toda España
Dejar una reseña
Reseñas de clientes
Descubra lo que la gente dice al respecto
Aún no hay reseñas. ¡Sea el primero!
FAQs
Preguntas Frecuentes sobre Puerta Rehau Synego
¿Cuál es la diferencia entre Synego (80mm) y Brillant (70mm)?
Synego es la evolución. Es 10mm más grueso, tiene 7 cámaras en lugar de 5, y un contorno de sellado medio adicional (opcional). Mientras que Brillant es un excelente estándar, Synego es una solución premium para máximo ahorro energético y casas pasivas.
¿Es esta puerta adecuada para Casas Pasivas?
Sí. Con un coeficiente de transferencia térmica Uf de hasta 0,9 W/m²K y la capacidad de instalar acristalamiento de triple cámara, Synego encaja perfectamente en los estándares Passivhaus y edificios de consumo casi nulo (nZEB).
¿Protegerá del ruido de la calle?
Absolutamente. Gracias a la capacidad de instalar unidades acústicas gruesas (hasta 51mm), la puerta reduce los niveles de ruido más de 20 veces. Dejará de escuchar los coches que pasan o los perros de los vecinos ladrando.
¿Qué tan fiable es la protección contra robos?
El diseño de Synego permite alcanzar la clase de resistencia RC3. Esto significa que la puerta resiste intentos activos de robo usando herramientas pesadas (palanca, barra) durante un período prolongado.
¿Se puede conectar la puerta a una Casa Inteligente?
Sí, Synego está diseñada para tecnologías modernas. Podemos integrar cerraduras electromecánicas que se abren mediante smartphone, tarjeta o huella dactilar, y conectar sensores de apertura a su sistema de alarma.
¿Combinará la puerta con las ventanas?
Absolutamente. Las puertas Synego se fabrican en la misma paleta KALEIDO COLOR que los sistemas de ventanas Rehau. Obtendrá una fachada perfectamente coordinada en un estilo y color unificados.





















